Theban tomb tracings
made by Norman and Nina de Garis Davies

Concept and direction: Jaromir Malek
Catalogue: Helen Murray, Elizabeth Fleming and Alison Hobby
Editing: Hana Navrátilová and Jaromir Malek
Scanning: Jenni Navratil, assisted by Hana Navrátilová
Photo-editing: Jenni Navratil
Coordination: Elizabeth Fleming

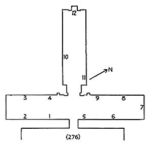
Qurnet Murai. TT 276, Amenemopet, Overseer of the treasury of gold and silver.
Temp. Tuthmosis IV(?)

High-resolution large-scale images are available on request, please see conditions and charges


i2.352(2) Two registers. I, Offerings before Amenemopet and wife. II, Two men seated with food-table, and priest censing and libating to couple.

Davies MSS. 10.61.14
(pencil tracing)
Detail, footstool,
PM i2, 352(2).


i2.353(6) Leather workers, jewellers and vase makers.

Davies MSS. 10.61.1
(inked tracing)
Remains of leather workers, jewellers and vase makers,
PM i2, 353(6).


i2.353(8) Two registers, I, men picking grapes, and bringing and preparing fish, II, remains of netting fowl.

Davies MSS. 10.61.2 [recto]
(pencil tracing)
Detail of preparing fish, probably from register I, PM i2, 353(8),
and an Asiatic (?), annotated by Davies 'vanished', unplaced fragment, PM i2, 352.


i2.353(10) Four registers. I-IV, Funeral procession to Western goddess, including boat with Anubis, tending mummy, and funeral outfit carried, in I, dancers in II, three of 'Nine friends' and bandaging mummy on bier in III, pool with victims, setting up of obelisks, teknu, man with three torches on stand, and man offering to false door, in IV.

Davies MSS. 10.61.2 [verso]
(pencil tracing)
Bow carried in funeral procession, probably register I,
PM i2, 353(10).

Davies MSS. 10.61.3
(pencil tracing)
Detail of boat, probably from register I,
PM i2, 353(10).


Davies MSS. 10.61.3 [A]
(pencil tracing)
Detail of setting up of obelisk, register IV,
PM i2, 353(10).

Davies MSS. 10.61.4
(pencil tracing)
Detail, man in kiosk, probably from here,
PM i2, 353(10).


Davies MSS. 10.61.4 [A]
(ink tracing)
Detail, teknu in register IV,
PM i2, 353(10).


i2.353(11) [Amenemopet in chariot] hunting gazelle, oryx, hyenas, etc., in desert. Sub-scene, men bringing game (hares, gazelle with calf, and hyena on pole).

Davies MSS. 10.61.5
(inked tracing)
Hunted animals (gazelles, hyenas, jackal and hedgehog), and hunting dog,
PM i2, 353(11).

Davies MSS. 10.61.6
(inked tracing)
Detail of animals (foxes?),
PM i2, 353(11).


Davies MSS. 10.61.7
(inked tracing)
Sub-scene, men bringing game,
PM i2, 353(11).


i2.352 Fragments of decoration, not placed.

Davies MSS. 10.61.8
(pencil tracing)
Detail, hieroglyphic signs (?),
PM i2, 352.

Davies MSS. 10.61.9
(pencil tracing)
Details, unidentified,
PM i2, 352.


Davies MSS. 10.61.10
(pencil tracing)
Detail of mummy on bier,
PM i2, 352.

Davies MSS. 10.61.11
(pencil tracing)
Detail, offering bearer,
PM i2, 352 .


Davies MSS. 10.61.12
(pencil tracing)
Details of hieroglyphic signs,
PM i2, 352.

Davies MSS. 10.61.13
(pencil tracing)
Detail, unidentified,
PM i2, 352.


Davies MSS. 10.61.15
(pencil tracing)
Detail, unidentified, basket(?),
PM i2, 352.

Davies MSS. 10.61.16
(pencil tracing)
Detail, hieroglyphic signs,
PM i2, 352.


Davies MSS. 10.61.17
(pencil tracing)
Detail, sealed wreathed jar,
PM i2, 352.

Davies MSS. 10.61.18
(pencil tracing)
Detail, unidentified, captioned by Davies as 'seat of Amenemope Q Murnai'
PM i2, 352.


Davies MSS. 10.61.19
(pencil tracing)
Details, unidentified, PM i2, 352.

Davies MSS. 10.61.20 [A, B]
(pencil tracing)
Detail, unidentified, PM i2, 352.


Davies MSS. 10.61.21
(pencil tracing)
Detail, unidentified, PM i2, 352.


(January 19, 2012)
Back to the list of Theban tomb tracings.